Novi proizvodi
POLUOSOVINA S KOČNICAMA - 4400 kg (6 VIJAKA) - 340 mm
Šifra:
14655
OEM:
9990000175680
Stopa poreza
22 %
Cijena bez PDV:
217,21 EUR
Cijena sa PDV:
265,00 EUR
Ref:
10
| Tehničke informacije | |
| Dobavljač: |
Turkija |
| Povrat ili zamjena: |
14 dana |
| Jamstvo: |
6 mjeseci |
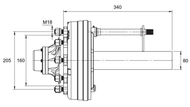
| Dužina: |
340 mm |
| Nosivost: |
do 4400 kg |
| Promjer osovine: |
80 mm (četvrtasta) |
| Broj vijaka: |
6 |
Opis
Poluosovina je namijenjena za upotrebu na raznim tipovima prikolica s kočnim sustavom. Duljina poluosovine je 340 mm, s nosivošću do 4400 kg.
Zahvaljujući svojoj robusnoj izradi i pouzdanom dizajnu, pogodna je za upotrebu na trgovačkim i radnim prikolicama, industrijskim šasijama, transportnim okvirima i drugim tehničkim rješenjima gdje je potrebna stabilna i trajna potpora kotača na osovini.
Poluosovina omogućuje korištenje standardnih naplataka sa šest vijaka i omogućava jednostavnu ugradnju.



%20-%20340%20mm.jpg)


