Új termékek
HIDRAULIKUS DÖMPER SZELEP KAMIÓNOS 3/4 - 140lit
Kód:
100652
OEM:
9990000075126
Adó mértéke
22 %
Ár áfa nélkül:
56.979,22 HUF
Ár áfával:
69.514,64 HUF
Ref:
18
Szállító:
Törökország
inditás :
-10 + 80°C
Visszatérés vagy csere:
14 nap
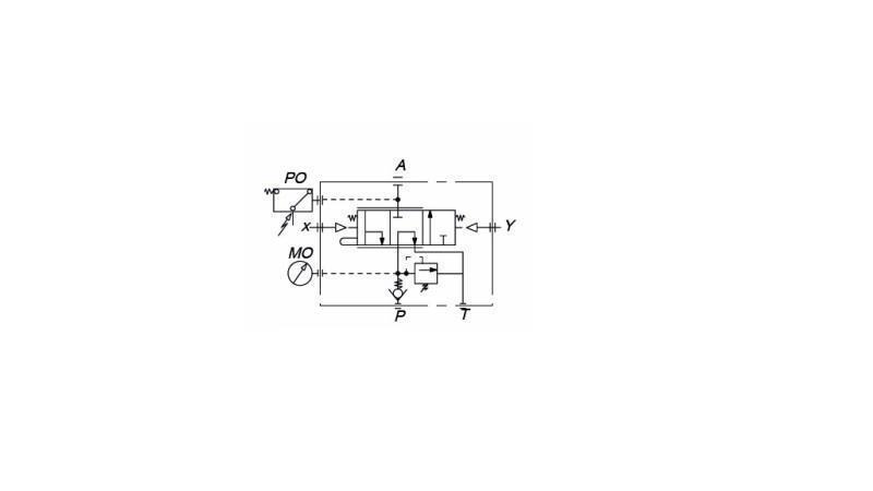
csőátmérő:
350 bar
ház anyaga:
140 lit/perc
pneumatikus - vezérlés:
7-12 bar







